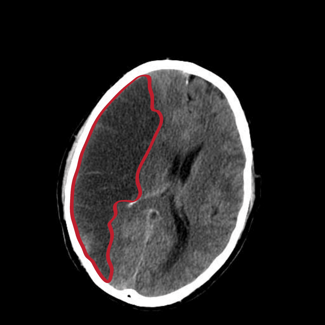
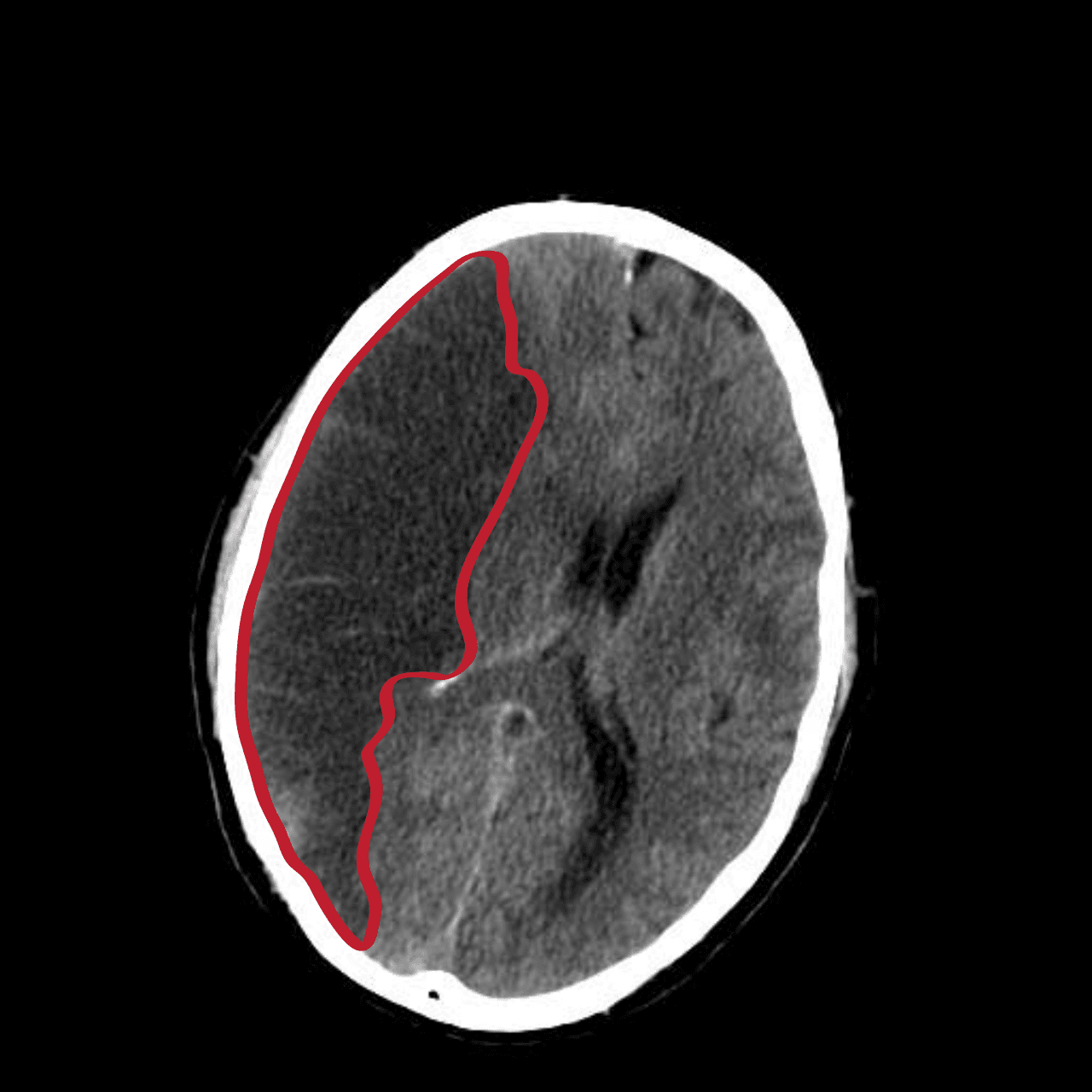
L’infarctus cérébral, appelé aussi accident ischémique cérébral, est un type d'accident vasculaire cérébral. C'est un déficit neurologique soudain d'origine vasculaire causé par un infarctus au niveau du cerveau. L'origine de l'infarctus (c'est-à-dire le mécanisme qui a conduit à l'obstruction du vaisseau sanguin) est dû dans la plupart des cas à une des raisons suivantes : thrombose (caillot de sang) apparaissant directement dans un vaisseau en amont du cerveau ; embolie dans une petite artère. Il s'agit de matériel venant d'ailleurs et obstruant la petite artère, par exemple les morceaux de sang coagulé qui se sont détachés d'une artère en amont ; sténose dans une artère. Il s'agit d'une artère qui à un endroit s'est rétrécie par un phénomène mécanique ( compression, écrasement) ou par un changement de l'état de ses parois (épaississement, rigidification, contraction, dilatation). La sténose athéromateuse d'une artère est un rétrécissement (sténose) due à une plaque d'athérosclérose. Il existe des sténoses par compression extrinsèque (par exemple tumeur qui comprime le vaisseau) et des plaques d'athérome non sténosantes (au début de la maladie). Selon la durée des symptômes, on définit : l'accident ischémique transitoire (AIT) : les AVC ischémiques totalement régressifs en moins de 24 heures ; l'accident ischémique rapidement régressif : les AVC ischémiques dont les signes disparaissent en moins de 5 jours ; l'accident ischémique constitué (AIC) si les signes persistent au-delà de 5 jours. L'infarctus cérébral est causé par une diminution voire un arrêt brutal du débit sanguin dans les branches du réseau vasculaire alimenté par un vaisseau (en général une artère) subissant un blocage partiel ou total (par thrombose, embolie, sténose, ou autre cause pas toujours identifiable). Ainsi, les cellules nerveuses alimentées par ces branches sont privées soudainement d'oxygène et de sucres, ce qui provoque en quelques minutes leur détérioration ou leur mort.
Friedhelm Christoph Hummel, Philipp Johannes Koch
Dimitri Nestor Alice Van De Ville, Maria Giulia Preti, Elisabeth Anne Dirren